TSL-EXT9U GAV+THERMO

ARMOIRE DE BRASSAGE  EXTERIEUR

09U 19″ GALVANISEE, IP65

Catégorie :

Product Description

L’armoire extérieure permet d’installer des équipements de transmission et autres équipements rackable19", offrant ainsi une protection mécanique et environnementale fiable pour le fonctionnement quotidien des équipements internes.

– Dimension:  9U rackmout19"   H:500mm  Larg: 600mm    Prof:  450mm

– Matériel tôles en acier galvanisé (DX51D+Z ) épaisseur 1.2 mm.

– L’indice de protection IP65

– Résiste au choc mécanique IK10 selon EN 62262

– Peinture époxy polyester poudre structurée RAL 7035


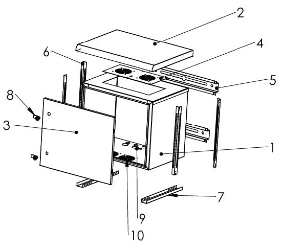
L’armoire est un ensemble des pièces de tôles en acier galvanisé pliées et soudées.

1- Corps armoire

2- Capot avec des ouverture de sortie d’air de ventilation et protection contre les infiltration d’eau de pluies.

3- Porte avant avec doublle serrure

4- Support de système de ventilation 2 ventilateurs avec thermostat

5- Système de fixation murale/ sur pilone

6- Support 19’’ pour montage equipments

7- Raill horizontale

8- Serrure double

9- Entrée de cable

10- Entrée air avec filtre anti-poussiere